|
T3 |
|
| By Steve Bosquette - New Jersey
- USA |
Editors Note: Steve
Bosquette built this boat last year and shared the
project with us in his article "Voyage
to Recovery". He then gave us more information
about the boat in his report on the "Kingston
Messabout 2005". Several people
asked Steve for plans and now he has made the following
available. Thanks, Steve.
BUILDING GUIDE

THE ORIGINAL BOAT WAS BUILT FROM 1/4 LUAN, 1 X 2
PINE, 3/4 PLYWOOD, ZINK #6 SCREWS, AND 3M QUICK CURE
5200 SEALANT/ADHESIVE. I WAS TRYING TO KEEP IT AS
LIGHT AS POSSIBLE WHILE MAKING IT STRONG.
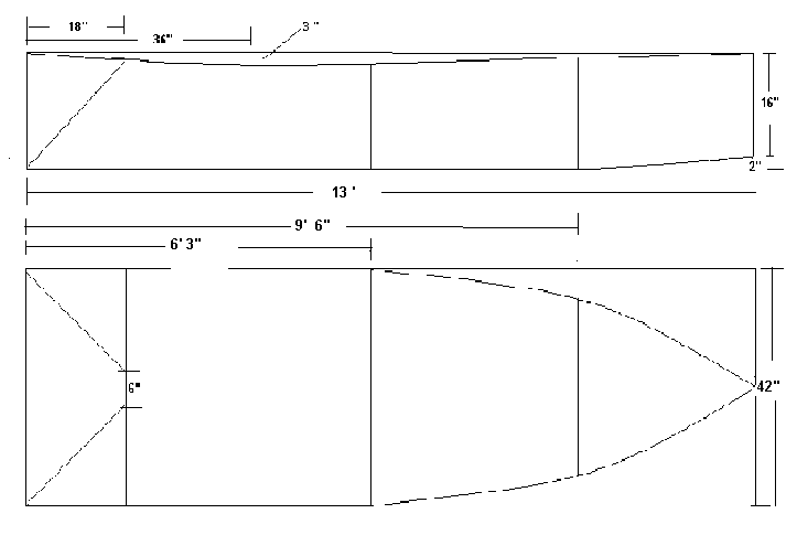
START BY CUTTING LUAN 16 INCHES WIDE BY 13 FEET
LONG. (YOU COULD CUT IT 12 FEET LONG TO SAVE LUAN
WHICH WOULD MAKE IT ABOUT 11 AND THREE QUARTERS FEET
LONG)

click image above for larger
view
USING THE DIMENSIONS ON THE DRAWING LAY OUT AND
CUT THE SHEER LINE FIRST AND THEN LAY OUT THE DRAKE
TAIL ANGLE AFTER. THEN LAY OUT THE BOW RISE ABOUT
2 INCHES UP ON THE STEM, DRAW A LINE FROM ABOUT 36
INCHES BACK FROM THE STEM IN A GENTLE CURVE TO THE
BOW.
RIP 1 X 2'S INTO 3/4 X 3/4 STRIPS. GLUE AND SCREW
(ALWAYS COUNTERSINK FIRST) THE EXTERNAL CHINE LOGS
AND THE SHEER LOGS FOLLOWING THE CURVES.
STAND THE SIDES UP ON EDGE BOTTOM UP. CUT THE TRANSOM
(DOUBLE THICKNESS 3/4 PLY) 42 INCHES WIDE BY THE HEIGHT
TO THE TOP OF THE DRAKE TAIL LINE, CUT THE TOP OF
THE TRANSOM ACCORDING TO PERSONAL TASTE BEING SURE
THE MOTOR IS DEEP ENOUGH BELOW THE BOTTOM OF THE BOAT.
GLUE AND SCREW (USING 1 1/2 INCH SCREWS) THE SIDES
TO THE TRANSOM. .
MEASURE ABOUT HALF WAY BACK FROM THE BOW AND INSTALL
THE MIDSHIP FRAME. MAKING IT FROM 3/4 PLY IS RECOMMENDED.
YOU WILL WANT 3/4 X 3/4 CLEATS TO FASTEN THE FRAME
TO ON EACH SIDE. YOU WILL MAKE THE SEAT FASTENED TO
THIS FRAME ABOUT 14 INCHES WIDE POSITIONED AFT OF
THE FRAME.
FASTEN AND GLUE THE STEM TO ONE SIDE AND DRAW THE
OTHER SIDE TO IT, GLUE AND FASTEN.
AT THIS POINT IT IS IMPORTANT TO SQUARE THE BOAT
UP. MAKE SURE THE SIDES ARE STRAIGHT FROM THE STERN
TO THE MIDSHIP FRAME AND USING A LONG STRAIGHTEDGE
OR CHALK LINE, BE SURE THE CENTER OF THE STEM IS LINED
UP WITH THE CENTER OF THE TRANSOM AND MIDSHIP FRAME.
LAY A SHEET OF LUAN ON THE BOTTOM FROM THE END OF
THE DRAKE TAILS, CLAMP AND SCRIBE THE SHAPE ALONG
THE SIDES. FOLLOWING THE DRAWING MARK THE CENTER OF
THE TRANSOM THEN 6 INCHES ON THE SHEET AND DRAW THE
LINES FROM THE POINTS OF THE DRAKE TAILS TO THAT MARK.
THIS GIVES WIDTH FOR THE MOTOR SHAFT. REMOVE THE SHEET
AND CUT. APPLY GENEROUS BEADS OF 5200 TO THE CHINE
LOGS AND TRANSOM, INSTALL THE SHEET AND SCREW EVERY
3 INCHES OR SO.
USING SCRAP WOOD OR PLY MAKE A BUTT JOINT PLATE
AND INSTALL ON THE FORWARD EDGE OF THE BOTTOM SHEET.
LAY THE LAST SHEET ON AND SCRIBE ALONG THE SIDES AND
STEM. REMOVE AND CUT. INSTALL THE FORWARD BOTTOM PIECE
BE SURE TO SCREW THIS SHEET TO THE BUTT PLATE.
THE ORIGINAL BOAT HAD A CURVED DECK FORWARD WHICH
IS OPTIONAL. YOU MAY WANT TO BUILD IN A SEAT FORWARD
INSTEAD. THE CENTER SEAT AND THE BOW SEAT, IF INCLUDED
SHOULD HAVE A BRACE UNDERNEATH.
I DID NOT FIBERGLASS THE BOAT, MAINLY TO KEEP THE
WEIGHT DOWN. I DID RUN A BEAD OF 5200 ALONG THE INNER
EDGE OF THE CHINE AND STEM AND AROUND THE EDGE OF
THE TRANSOM FOR ADDED WATERPROOFING.
TIP THE BOAT ON IT'S SIDE. RUN A 1 X 3 THE LENGTH
OF THE BOAT IN THE CENTER OF THE BOTTOM LIKE A KEELSON.
GLUE AND SCREW THE PIECE IN PLACE. ADDITIONAL RUNNERS
CAN BE ADDED THE SAME WAY AS NEEDED.
SAND THE EDGES OF THE BOTTOM SMOOTH, PUT A RADIUS
ON THE CHINE LOGS AND USE A GOOD WOODFILLER TO FILL
THE SCREW HOLES. APPLY 2 COATS OF A GOOD PRIMER, I
LIKE BEHR 10 PLUS, THEN 2 COATS OF THE COLOR OF YOUR
CHOICE INSIDE AND OUT. I LIKE MARINE PAINT LIKE INTERLUX
OR PETIT.
INSTALL OARLOCKS AND CLEATS AND OTHER HARDWARE AS
NEEDED.

Articles by Steve Bosquette:
|